42 honda gx340 parts diagram
Download free Honda GX240 GX270 GX340 GX390 Wiring Diagram pdf - This Honda GX240 GX270 GX340 GX390 Wiring Diagram covered; With Oil Alert and Electric Starter, With Oil Alert and Without Electric Starter, control box, rectifier, fuse, circuit breaker, engine switch, oil alert unit, type with oil alert unit, oil level switch, charging coil, ignition coil, spark plug, starter motor, starter ... Download or purchase Honda Engine owners' manuals for the GX340.
Honda GX340 Engine Parts available online from an Authorized Honda Engine Dealer. We carry a large selection of Honda GX340 Engine Parts. We carry other parts for this model. If you do not see the Honda Part you need, please complete the Lawn Mower Parts Request Form and we will be happy to assist you.: Honda Illustrated Parts Diagrams

Honda gx340 parts diagram
Pull Cord Grip (Non Genuine) For Honda Engines - Replaces 28461-ZH8-003. £1.14 £0.95 As low as £0.76. Add to Cart. Add to Compare. Air Filter Element Non Gen for Honda GX340 GX390 Engines - 17210-ZE3-010. £8.40 £7.00 As low as £5.95. Add to Cart. Add to Compare. Twin Wire Stop Switch for Honda GX Range (Non Genuine) The Honda GX340 and GX390 engines are used in hundreds of applications. From generators, and snow blowers, to mowers and cement mixers. Since this motor is used in so many types of construction and cleanup equipment, you need a site that offers all the parts and diagrams to help you fix your GX340 and GX390 Small Engine. Honda Gx340 Wiring Diagram. Effectively read a wiring diagram, one has to know how the components within the method operate. For instance , when a module is powered up and it also sends out a new signal of half the voltage in addition to the technician would not know this, he'd think he offers an issue, as he would expect a new 12V signal ...
Honda gx340 parts diagram. Honda Gx340 Starter Solenoid Wiring Diagram from static-cdn.imageservice.cloud. Print the wiring diagram off plus use highlighters to trace the signal. When you make use of your finger or perhaps the actual circuit with your eyes, it is easy to mistrace the circuit. 1 trick that We 2 to printing a similar wiring plan off twice. Honda GX340 11hp Engine Parts Diagrams. Honda's GX 340 11hp engine is a powerhouse. It has built a reputation for long life, smooth quiet operation and vibration free operation. HondaLawnParts.com is an Authorized Honda Engine Dealer and can supply all the genuine Honda Engine parts you need. From routine maintenance parts like spark plugs, air ... CRANKCASE COVER, CRANKSHAFT, PISTON GX340・GX390K1/R1/T1/U1/UT1 Engine Assembly Information PISTON CRANKSHAFT/BALANCER/PISTON EXHAUST VALVE REMOVAL/INSTALLATION ... Unless you're absolutely confident that the part you're purchasing will fit your machines, please call us at 866-611-9369. We will confirm part fitment for your machine. << All Honda Engine Parts. << All GX340 | GX390 Parts. << All Fuel, Ignition & Electrical Parts.
GX340. Items marked (OEM) are Genuine Honda Replacement Parts - Items marked (AM) are After Market Replacement Parts. Air Filter (AM) GX240 to GX390 . Air Filter (OEM) GX340 / GX390 . Carburetor (AM) GX340 / GX390 . Spring - Governor (OEM) GX160 - GX390 . Spring - Throttle (OEM) GX160 - GX390 . Cable Holder (OEM) GX120 to GX670 . Battery ... Replacement Parts for HONDA GX340, 11 HP - Honda Engines Parts: Honda GX340 is a fuel efficient engine with a high output operation, large capacity, multi-chamber exhaust system and an improved piston design. Everything you need is here in our collection of Honda GX340 parts: exhaust valve springs, weight bearings, oil-level switches, exhaust pipes, gasket sets, cooling fans and carburetors ... Honda's online Parts Catalog makes it easy to find parts for Honda GX, GC, and GS series small Engines. Parts look up is available for all US engine models produced since 2004. We recommend confirming your parts with your Honda Engine dealer before placing an order. Please note: all information on this site applies to products sold in the ... Honda Gx340 Electric Start Wiring Diagram - wiring diagram is a simplified customary pictorial representation of an electrical circuit. It shows the components of the circuit as simplified shapes, and the facility and signal friends amongst the devices. A wiring diagram usually gives information nearly the relative direction and accord of ...
1-16 of 806 results for "honda gx340 parts" Price and other details may vary based on product size and color. Parts Camp Replacement Honda GX340 GX390 Muffler for 11HP 13HP Engine Motor with Exhaust Pipe. 4.6 out of 5 stars 233. $36.99 $ 36. 99. Get it as soon as Fri, Nov 12. FREE Shipping by Amazon. GX340 118 OEP Illustrated Parts Lists • Illustrated Parts Lists. Ref #Frederick # OEM # ASC # Description 131-06028400-ZE3-W01ZA 57152 Starter assy.,NEW STYLE 243-426 28442-ZE2-W01 Starter spring ... Honda GX340 * NON-Stocked but Previously Special Ordered Item . Created Date: Honda repair parts and parts diagrams for Honda GX340 LX (GC05) - Honda Engine, Made in Japan (SN: GC05-1000001 - GC05-1469766) Order Status Customer Support 512-288-4355 My Account Login to your PartsTree.com to view your saved list of equipment. Honda Engines GX340 LX ENGINE, JPN, VIN# GC05-1000001 TO GC05-1469766 Parts Diagrams. Parts Lookup - Enter a part number or partial description to search for parts within this model. There are (242) parts used by this model. CAMSHAFT ASSY. Use from Engine SN 1421333.
GX240 · GX270 · GX340· GX390 1 Thank you for purchasing a Honda engine. We want to help you to get the best results from your new engine and to operate it safely. This manual contains information on how to do that; please read it carefully before operating the engine. If a problem should arise, or if you have any questions about your engine ...
Honda Gx340k1 Gc05 Engine Parts Honda Gx340 Spare Parts Honda Gx Series Engine Parts Honda Engine Spare Parts Small Engine Parts Plant Spares L S Engineers
Honda GX240 8hp Engine Parts. Select your model below. The Honda GX240 8HP engine had been extremely popular for applications like pressure washers, generators, tillers, water pump, industrial equipment and commercial landscape tools. The GX240 overhead valve engine is quiet, fuel efficient and has high torque ratings under load.
Title: 2010_12_24 General GXV340_390 Engine Adjustment Information.xls Author: J0451014 Created Date: 12/24/2010 8:23:49 AM
Honda Gx340 Parts Quality Aftermarket For Gx Engines. Honda Gx390 Ut1 Sxe8 Gcakt Engine Made In Thailand Sn. Manual Honda Gx390 Carburetor Exhaust Gas. Honda Gx340 Gx390 Carburetor Rebuild Kit Pf340i06kit 11 99. Honda Gx390 Ut1 Lxu Gcakt Engine Made In Thailand Sn. Honda Gx390ut1 Lawn Garden Engine Parts Sears Direct.
hOnDA gX390 7 6 5 4 2 3 1 9 8 13 14 15 12 16 25 26 24 18 18 22 23 21 17 20 19 32 38 33 42 44 41 43 40 11 10 39 34 36 37 35 27 28 29 30 31 GX390 120 OEP Illustrated ...
Honda Engines Gx340k1 Edn2 Engine Jpn Vin Gc05 2000001 To Gc05 3599999 Parts Diagram For Carburetor 2
Honda Engines GX340K1 ED6 ENGINE, JPN, VIN# GC05-2000001 TO GC05-3599999 Parts Diagrams. Parts Lookup - Enter a part number or partial description to search for parts within this model. There are (300) parts used by this model. Use up to Engine SN 2374605.
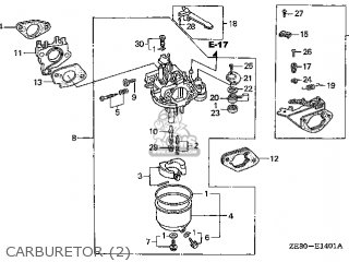
Honda GX340\QX\10ZE301 parts list. Honda GX340\QX\10ZE301. parts list. seventeen Other page parts fiche for GX340\QX\10ZE301. Access two hundred thirty-eight spare parts listed in these schematics. This CARBURETOR (1) fiche contains the largest amount of spare parts with twenty-seven listed items.
Amazon Com Supermotorparts Manual Choke Assembly Fit Honda Gx240 Gx270 Gx340 Gx390 5kw 6 5kw Generator New Automotive
Thank you for purchasing a Honda engine. This manual covers the operation and maintenance of GX240 l GX340 engines and is based on GX240 engine. The QAE type is equipped for both electric and manual starting; other types are equipped for manual starting only.
Honda GX340 parts diagram: This section is under construction Please check again soon as parts are being added on a regular basis. Reference # in diagram: Replaces Honda # Order: 1: Starter Assembly 28400-ZE3-W01ZA: REF-1 HONDA RECOIL 31-060: $84.99: 2: Starter Spring 28442-ZE2-W01: REF-2 HONDA STARTER SPRING:
Need to fix your GX340 (Type VA)(VIN# GC05-1000001-1469766) Small Engine? Use our part lists, interactive diagrams, accessories and expert repair advice to make your repairs easy.
Honda Engines Gx340 Qa Engine Jpn Vin Gc05 1000001 To Gc05 1469766 Parts Diagram For Carburetor Silent Type
Honda Gx340 Wiring Diagram. Effectively read a wiring diagram, one has to know how the components within the method operate. For instance , when a module is powered up and it also sends out a new signal of half the voltage in addition to the technician would not know this, he'd think he offers an issue, as he would expect a new 12V signal ...
The Honda GX340 and GX390 engines are used in hundreds of applications. From generators, and snow blowers, to mowers and cement mixers. Since this motor is used in so many types of construction and cleanup equipment, you need a site that offers all the parts and diagrams to help you fix your GX340 and GX390 Small Engine.
Pull Cord Grip (Non Genuine) For Honda Engines - Replaces 28461-ZH8-003. £1.14 £0.95 As low as £0.76. Add to Cart. Add to Compare. Air Filter Element Non Gen for Honda GX340 GX390 Engines - 17210-ZE3-010. £8.40 £7.00 As low as £5.95. Add to Cart. Add to Compare. Twin Wire Stop Switch for Honda GX Range (Non Genuine)
Honda Gx340 R2 Ent Gcbkk Honda Engine Made In Japan Sn Gcbkk 1000001 Gcbkk 9999999 Other Parts Control Box Combination Switch Parts Lookup With Diagrams Partstree
Urologie Am Thie De Heavy Equipment Parts Accessories Heavy Equipment Parts Attachments Bush Hog Model 160r 160s 1600r 1600s Operation Repair Parts Catalog Book Manual
0 Response to "42 honda gx340 parts diagram"
Post a Comment