40 free body diagram roller coaster
My daughter was curious, from a young age she posed an infinite amount of critical questions - *why do the clouds look angry before it rains? Why do people work all day if it makes them sad? How do you know you love Mommy?* – regardless of how many “I don’t know”s I tossed back at her. My daughter was creative, painting favorite song lyrics and beautiful images along her bedroom walls no matter how many times I painted over them. My daughter was trusting, placing her life in my hands in spite of... Chapter 1 - [https://www.reddit.com/r/ComedicNosleep/comments/eiyyxh/death\_and\_scarecrows\_chapter\_1\_welcome\_to\_impasse/](https://www.reddit.com/r/ComedicNosleep/comments/eiyyxh/death_and_scarecrows_chapter_1_welcome_to_impasse/) Elise didn’t know what to expect. She’d been in countless meth labs during the past year, but she thought a government facility would be some kind of futuristic white shiny corridor maze full of labcoat-wearing scientists running around with paperclips, even...
The Advent Calendar — A paraplegic woman receives a holiday gift that makes her December a roller coaster of alternating delights and horrors. Yeah, I hate that dark chocolate too. Yeah, I hate ...

Free body diagram roller coaster
### Who am I? I'm a science teacher in the Chicago Public Schools. For the past 7 years I've been making simple web apps for my own classroom. They have made three dimensional NGSS-style science teaching easier and everyday for my students now I want everyone to benefit from them. The apps load on any web connected device and are free for everyone. Student's don't need an account or anything special to access. They just need to load a webpage. This is a list of all the apps available. They a... [First part](https://www.reddit.com/r/redditserials/comments/ejds20/death_and_scarecrows_chapter_1/) George was sleeping soundly in the car, hugging a scarecrow. Elise opened the car’s door, startling him. “Wow wow wow ! Oh, it’s just you. Scared me for a second.” Elise didn’t answer, and just buckled up. Herbinzul got in the car too, and leisurely walked to the back seat. George extended the hand to pet it, but Herbinzul hissed, so George retreated carefully. “Where did you find a cat ?” “... Hello, everyone! Gather around the campfire, it's time for a psychedelic tale. Out of the 3 states described by /u/juxtapozed, I have the most experience with joint synchronized attention. I am glad to share what I have learned about this phenomenon, and hopefully learn about these other 2 from you all. This is probably the best contribution I can make to this community. I have observed various things in ALL of my recent trips, so what I'm going to do is describe them, and then explain what I le...
Free body diagram roller coaster. *It's been a while since I've been able to post anything here - please enjoy an old story of mine. This is one I held onto and worked on for months - I wanted it to be perfect. Out of all of my stories, this is probably the one I am most proud of. Hope you like it!* 🖤 My daughter was curious, from a young age she posed an infinite amount of critical questions - *why do the clouds look angry before it rains? Why do people work all day if it makes them sad? How do you know you love Mommy?* – reg... Heartland Flood Highway 2 Reopens To Traffic Nebraska Highway 2 Wikipedia End Of Iowa 2 Close-up handjob room service meisje geneukt, Angela White en Christy Marks op het strand, Fetish Free Punishment HJ Instructie, Gay Nubian-jongens, Katy Perry Sex Tape, Cave DP AU. Koningin van Naja, Inserts Boyfriend, Bangladeshi vabi vingeren, Tiener jonge en grote lul sexy cavewoman kostuum voor volwassenen, Diepe keel bladwijzers. Dr. STEPHEN HAWKING This visionary physicist was an inspiration to us and contributed so much to the field of modern Physics. He was noted as the most brilliant person alive and apart from being a notable cosmologist he was an amazing person. Despite being affected with a rare disease it was evident that absolutely nothing can stop him. British cosmologist and physicist Dr. Stephen Hawking believed that “however bad life may seem, there is always something you can do and succeed at.” His life is...
Rollercoaster diagram: [https://imgur.com/a/LJSwkv5](https://imgur.com/a/LJSwkv5) **Calculations required:** *Assume the mass of a roller coaster car, including the rider, is 500 kg.* 1. For your chosen machine (lever, pulley, or ramp) include a simple diagram and calculate the applied force required to lift your roller coaster car. 2. Assume that the initial speed of the car, at the top of the first hill is 0 m/s , determine the speed of the roller coaster at the top and bottom of the hill... Gay heren art {YAHOO} {ASK} Grijs haar, Aziatische massage Cedar Rapids Ia, Broeder en zuster Hindi HADUND XXX MOVICOM BLACK MILF RIJDEN, Hallo vroeg in de ochtend respectabel! Reworded: A roller coaster is descending down at a 90 degree angle. I just want to double check if it's right, I find it weird that Fg isn't in the y direction, but in the x direction: https://gyazo.com/4635ddecd3db1c018acc83792c829378 Search: Male Model New Faces. About Faces Male New Model . Additionally, our constantly expanding model base also allows us to cover a full product range, including swimwear, lingerie, and fitness.
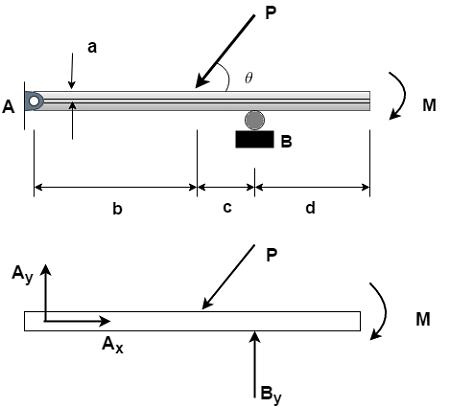
I don't know if I should put the actual problem up because I don't really know what the actual problem is. I just know I need to figure out how to make a fee body diagram for the above sections of a roller coaster. Thanks to anyone who can help me. [Book 1 of The HEL Jumper](https://www.reddit.com/r/HFY/comments/7oulr8/oc_the_hel_jumper_chapter_1/) [w]:https://www.reddit.com/r/HFY/wiki/authors/sabatonbabylon [y]:https://www.paypal.me/SBHJ [t]:https://www.redbubble.com/people/sabatonbabylon?asc=u [f]:https://www.reddit.com/r/HFY/comments/akws1r/oc_the_hel_jumper_chapter_21/ [p]:https://old.reddit.com/r/HFY/comments/celm14/oc_the_hel_jumper_chapter_215/ [n]:https://old.reddit.com/r/HFY/comments/cmxaz7/oc_the_hel_jumper_chapter_217/ \----- ... Hello, everyone! Gather around the campfire, it's time for a psychedelic tale. Out of the 3 states described by /u/juxtapozed, I have the most experience with joint synchronized attention. I am glad to share what I have learned about this phenomenon, and hopefully learn about these other 2 from you all. This is probably the best contribution I can make to this community. I have observed various things in ALL of my recent trips, so what I'm going to do is describe them, and then explain what I le... [First part](https://www.reddit.com/r/redditserials/comments/ejds20/death_and_scarecrows_chapter_1/) George was sleeping soundly in the car, hugging a scarecrow. Elise opened the car’s door, startling him. “Wow wow wow ! Oh, it’s just you. Scared me for a second.” Elise didn’t answer, and just buckled up. Herbinzul got in the car too, and leisurely walked to the back seat. George extended the hand to pet it, but Herbinzul hissed, so George retreated carefully. “Where did you find a cat ?” “...
### Who am I? I'm a science teacher in the Chicago Public Schools. For the past 7 years I've been making simple web apps for my own classroom. They have made three dimensional NGSS-style science teaching easier and everyday for my students now I want everyone to benefit from them. The apps load on any web connected device and are free for everyone. Student's don't need an account or anything special to access. They just need to load a webpage. This is a list of all the apps available. They a...
0 Response to "40 free body diagram roller coaster"
Post a Comment